-
Advertisingy u no do it?
Advertising (learn more)
Advertise virtually anything here, with CPM banner ads, CPM email ads and CPC contextual links. You can target relevant areas of the site and show ads based on geographical location of the user if you wish.
Starts at just $1 per CPM or $0.10 per CPC.
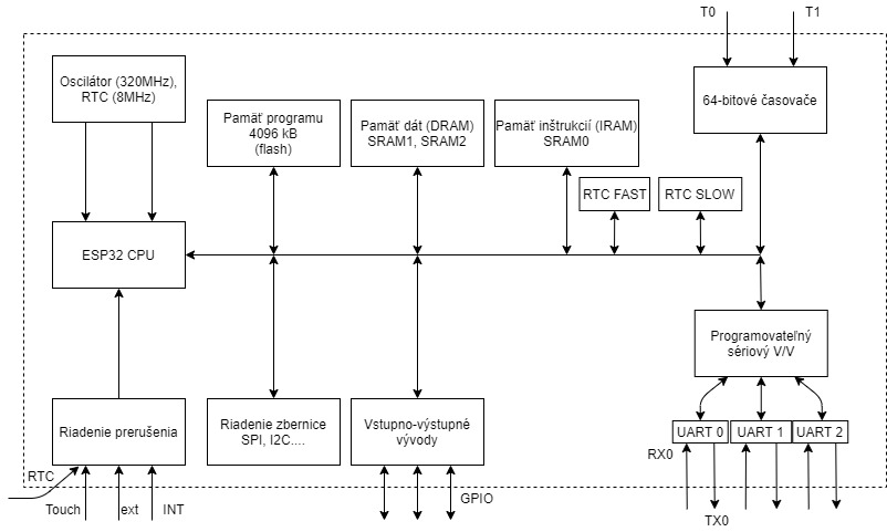
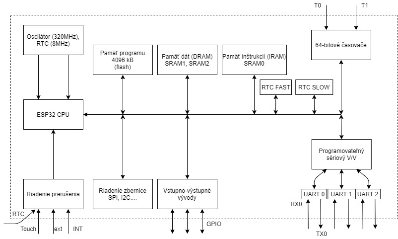
FreeRTOS in Arduino IDE - ESP32
Purchase this article for $5.00
Purchase this article for $5.00
-
-
- FreeRTOS in Arduino IDE - ESP32
- I mentioned the FreeRTOS real-time operating system on my sector blog in the past in connection...
- 1,645
- 76
- 56.778
-
![[IMG]](proxy/AzlYvSPouBTaeQc3enpCJp1RhuMYf%2FCcQ28VA9gg5wKJ9WXaVyEQFfDFGMAhwgGs%2FYvYR7UoHp54BzEuIn6nKaScW2vpblw%3D/image.png)